カテゴリーメニュー
シリーズメニュー
アルファベットメニュー
RoHS対応SNMP対応
3G対応シグナルモニター
&スイッチャー
SMS-70H
希望小売価格 500,000円 (税別)

製品概要

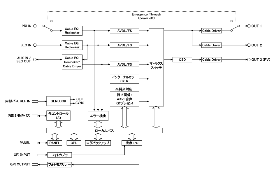
SMS-70Hは、現用系、予備系、AUX系のそれぞれのSDI入力信号のエラーを監視し、SDI出力信号を任意の系統へ切り替えてアラーム信号を出力するモジュールです。SDI出力信号は現用系、予備系の他にAUX入力やムービングCB、オプションで内蔵フラッシュメモリーに保存された静止画像とWAV音声の出力も可能です。エラーはTRS、CRCなど19種類を検出します。アラームは接点出力およびSNMP(筐体実装)で出力します。SNMPはVbus筐体経由ですので1つのIPアドレスで棚板全体を監視するシステムを組めます。また、接点入力により強制的に現用系から予備系へ出力を切り替えることもできます。

特長

  • ● HD-SDI、3G-SDI信号に対応※1
  • ● 現用系からSDI OUT1へのバイパス機能
  • ● 現用系、予備系、AUX入力のエラーを監視
  • ● 接点入力により出力の強制切り替え
  • ● エラー発生時は、外部に信号を接点出力
  • ● エラー内容は、項目別にON/OFFプログラム
  • ● SNMPで設定変更可能、エラー時はTRAP発生
  • ● ログの閲覧、ダウンロードが可能
  • ● PREVIEW出力で切り替え後の映像確認が可能
  • ● AUX入力をチョイ待ちスーパーや予備予備として使用可能
  • ● AUX入力端子は設定メニューで予備系入力のリクロック出力として使用可能
  • ● 現用系、予備系、AUXの各入力の処理はFSとAVDLのどちらかを選択可能で、同タイミングでスイッチ可能※2
  • ● EMB音声のクリーンスイッチングが可能※3
  • ● ムービング設定が可能な内蔵カラーバーの出力が可能
  • ● 内蔵フラッシュメモリーに保存された静止画像とWAV音声の出力が可能※4
  • ● HANC、VANCのデータを通過※5
  • ※1 3G-SDI信号でのご使用時には以下の機能制限がございます。
    • ・STILL検出:ご使用になれません。
    • ・REVIEW出力の4SCREENS:ご使用になれません。
  • ※2 FSとAVDLを混在した時のスイッチのタイミングは、AVDLの引き込み範囲内になります。
  • ※3 切り替えを行う映像入力にFSを選択した時に可能です。切り替え前のノイズは吸収されません。
  • ※4 オプションです。静止画像は4枚(1920×1080)、WAV音声は4つ(2CH/16bit/48kHz/最長およそ52秒)の保存が可能です。 また、静止画像の出力時のAUX入力には以下の機能制限がございます。
    • ・HD-SDI信号:PREVIEW出力でAUX出力はご使用になれません。
    • ・3G-SDI信号:PREVIEW出力でAUX、SPLIT2出力はご使用になれません。
  • ※5 入力信号処理にAVDLを使用した場合、全てのANCデータが通過します。入力信号処理にFSを使用した場合、一部のHANCデータ(オーディオ、RP188、352M)とVANCデータ(スイッチングポイントとその次のラインを除くY領域)が通過します。

システム例

図をクリックすると拡大します。

ブロック図

図をクリックすると拡大します。