カテゴリーメニュー
シリーズメニュー
アルファベットメニュー
RoHS対応SNMP対応
3G対応シグナルモニター
&ビューワー
SMV-70H
希望小売価格 400,000円 (税別)

製品概要

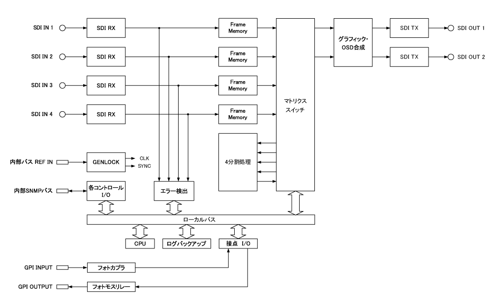
SMV-70Hは、4系統のSDI信号の映像を1台のモニター上に4分割して表示する装置です。SDI信号は3G-SDI(Level-A)、HD-SDI信号に対応しており、各SDI入力はエラー監視機能を持っています。表示画面には、エラー検知、音声レベルメーター、ON AIR/NEXTタリーなどの表示が可能です。

特長

  • ● 3G-SDI(Level-A)、HD-SDI信号に対応
  • ● 4系統のSDI信号の映像を4分割、シーケンシャル表示
  • ● 各SDI入力は非同期入力に対応
  • ● 4系統のエラー監視機能※1
  • ● ログの閲覧、ダウンロードが可能
  • ● 音声レベルメーターの表示
  • ● タイムコードの表示
  • ● NET-Q情報の表示※2
  • ● 信号名の漢字表示※3
  • ● 内部時計(NTP同期)による時計表示
  • ● 外部接点によるON AIR / NEXT タリー表示
  • ※1 3G-SDI信号でのご使用時には、信号検出項目のSTILLが使用できません。
  • ※2 カレント映像モードとカレント音声モードを表示します。
  • ※3 漢字によっては正しく表示ができない場合がございますので、実際に入力をして表示をご確認ください。

システム例

図をクリックすると拡大します。
システム例

ブロック図

図をクリックすると拡大します。
ブロック図